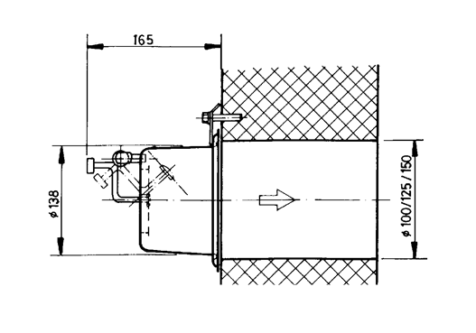
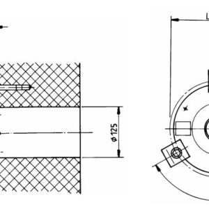
Zawór bezpieczeństwa UEV150 / BZS-Nr. T 05-003
Na poziomie funkcjonalnym działa on jako automatyczny zawór nadciśnieniowy (overpressure relief valve). Gdy system filtracyjny wytwarza nadciśnienie w pomieszczeniu, zawór pozostaje zamknięty i nie wpuszcza powietrza z zewnątrz. Jeśli ciśnienie wzrośnie powyżej wartości granicznej, zawór otwiera się samoczynnie i odprowadza nadmiar powietrza, stabilizując parametry pracy instalacji. Po spadku ciśnienia zamyka się ponownie.
Opis
Zawór bezpieczeństwa UEV150 (często spotykany także jako UEV-ESV 150) nie jest klasycznym zaworem ciśnieniowym jak w instalacjach wodnych czy kotłowych. To element stosowany głównie w systemach filtracji powietrza i ochrony przeciwuderzeniowej, np. w schronach, instalacjach CBRN lub systemach nadciśnieniowych. Jego podstawowa funkcja to utrzymanie bezpiecznego nadciśnienia i ochrona przed falą uderzeniową.









